Product Summary
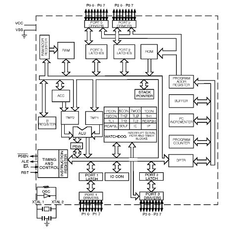
The AR8316-BK1A is a CMOS Single Chip 8-bit Microcontroller. The AR8316-BK1A retains all the features of the 80C52 with extended ROM capacity (16K bytes), 256 bytes of RAM, 32 I/O lines, a 6-source 2-level interrupts, a full duplex serial port, an on-chip oscillator and clock circuits, three 16 bit timers with extra features: 32 bit timer and watchdog functions. Timer 0 and 1 can be configured by program to implement a 32 bit timer. The watchdog function can be activated either with timer 0 or timer 1 or both together (32 bit timer).
Parametrics
AR8316-BK1A absolute maximum ratings: (1)Ambiant Temperature Under Bias: C = commercial: 0℃ to +70℃; (2)I = industrial: -40℃ to +85℃; (3)Storage Temperature: -65℃ to + 150℃; (4)Voltage on VCC to VSS: -0.5 V to +7 V; (5)Voltage on Any Pin to VSS: -0.5 V to VCC +0.5 V; (6)Power Dissipation: 1 W.
Features
AR8316-BK1A features: (1)Power control modes; (2)256 bytes of RAM; (3)16 Kbytes of ROM (83C154); (4)32 Programmable I/O lines (programmable impedance); (5)Three 16 bit timer/counters (including watchdog and 32 bit timer); (6)64 K program memory space; (7)64 K data memory space; (8)Fully static design; (9)0.8m CMOS process; (10)Boolean processor; (11)6 interrupt sources; (12)Programmable serial port; (13)Temperature range : commercial, industrial, automotive, military.
Diagrams

(China (Mainland))






