Product Summary
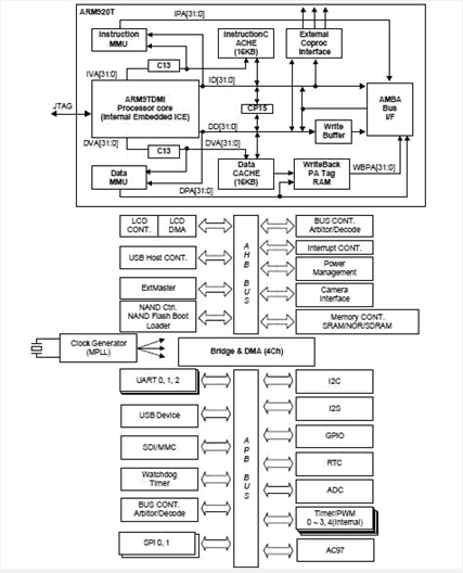
The S3C2440AH-40 is a 32-bit CMOS microprocessor, designed to provide hand-held devices and general applications with low power, and high-performance microcontroller solution in small die size. The S3C2440AH-40 is developed with ARM920T core, 0.13um CMOS standard cells and a memory complier. Its lowpower, simple, elegant and fully static design is particularly suitable for cost and power-sensitive applications. It adopts a new bus architecture known as Advanced Micro controller Bus Architectur (AMBA). The S3C2440AH-40 offers outstanding features with its CPU core, a 16/32-bit ARM920T RISC processor designed by Advanced RISC Machines, Ltd. The ARM920T implements MMU, AMBA BUS, and Harvard cache architecture with separate 16KB instruction and 16KB data caches, each with an 8-word line length.
Parametrics
S3C2440AH-40 absolute maximum ratings: (1)DC Supply Voltage, VDDi: 1.2V VDD to 1.8 V; VDDOP: 3.3V VDD to 4.8V; VDDMOP: 1.8V/2.5V/3.0V/3.3V VDD to 4.8V; VDDRTC 1.8V/2.5V/3.0V/3.3V VDD to 4.5V; VDDADC: 3.3V VDD to 4.8V; (2)DC Input Voltage, VIN: 3.3V Input buffer to 4.8V; 3.3V Interface / 5V Tolerant input buffer to 6.5V; (3)DC Output Voltage, VOUT: 3.3V Output buffer to 4.8V; (4)DC Input (Latch-up) Current, IIN: ±200 mA; (5)Storage Temperature, TSTG: -65 to 150℃.
Features
S3C2440AH-40 features: (1)A/D Converter & Touch Screen Interface, 8-ch multiplexed ADC; Max. 500KSPS and 10-bit Resolution; Internal FET for direct Touch screen interface; (2)Watchdog Timer, 16-bit Watchdog Timer; Interrupt request or system reset at time-out; (3)IIC-Bus Interface 1-ch Multi-Master IIC-Bus; Serial, 8-bit oriented and bi-directional data transfers can be made at up to 100 Kbit/s in Standard mode or up to 400 Kbit/s in Fast mode.; (4)IIS-Bus Interface, 1-ch IIS-bus for audio interface with DMA-based operation; Serial, 8-/16-bit per channel data transfers; 128 Bytes (64-Byte + 64-Byte) FIFO for Tx/Rx; Supports IIS format and MSB-justified data format; (5)AC97 Audio-CODEC Interface, Support 16-bit samples; 1-ch stereo PCM inputs/ 1-ch stereo PCM outputs 1-ch MIC input; (6)USB Host, 2-port USB Host; Complies with OHCI Rev. 1.0; Compatible with USB Specification version 1.1; (7)USB Device, 1-port USB Device; 5 Endpoints for USB Device; Compatible with USB Specification version 1.1; (8)SD Host Interface, Normal, Interrupt and DMA data transfer mode (byte, halfword, word transfer); DMA burst4 access support (only word transfer); Compatible with SD Memory Card Protocol version 1.0; Compatible with SDIO Card Protocol version 1.0; 64 Bytes FIFO for Tx/Rx; Compatible with Multimedia Card Protocol version 2.11; (9)SPI Interface, Compatible with 2-ch Serial Peripheral Interface; (10)Protocol version 2.11; 2x8 bits Shift register for Tx/Rx; DMA-based or interrupt-based operation; (11)Camera Interface; (12)Operating Voltage Range, Core: 1.20V for 300MHz; 1.30V for 400MHz; Memory: 1.8V/ 2.5V/3.0V/3.3V; I/O: 3.3V; (13)Operating Frequency, Fclk Up to 400MHz; Hclk Up to 136MHz; Pclk Up to 68MHz; (14)Package: 289-FBGA.
Diagrams

(China (Mainland))






