Product Summary
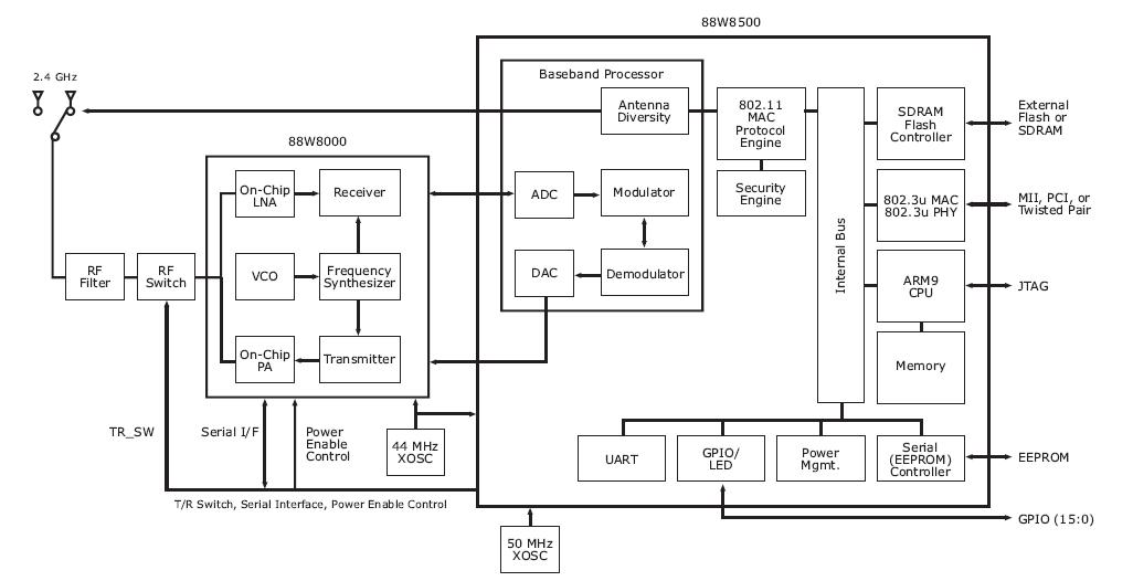
The 88W8688-BFL2 is a Wireless LAN (WLAN) chipset comprises the world’s most integrated 802.11b Access Point solution. The 88W8000 product performs all of the functions of an RF transceiver by integrating a 20 dBm power amplifier, low noise amplifier, voltage-controlled oscillator, frequency synthesizer, as well as other necessary RF and analog functions onto one CMOS chip. The 88W8688-BFL2 device is a single chip that combines the functions of the Direct Sequence Spread Spectrum (DSSS) baseband processor, Medium Access Control (MAC) processor, on-chip CPU, on-chip memory, advanced encryption, external SDRAM/FLASH memory controller, and one Fast Ethernet port (MAC and PHY).
Features
88W8688-BFL2 features: (1)2.4 GHz ISM Band Radio; (2)Integration of all RF to analog baseband transmit and receive functionalities; (3)On-chip power ampliTer with 20 dBm output power at the antenna connector; (4)On-chip power ampliTer is programmable from 0 dBm to 20 dBm; (5)Integrated power loop control; (6)2x higher receiver sensitivity; (7)Programmable frequency synthesizers with integrated VCOs and I/Q generation.
Diagrams

(China (Mainland))






