Product Summary
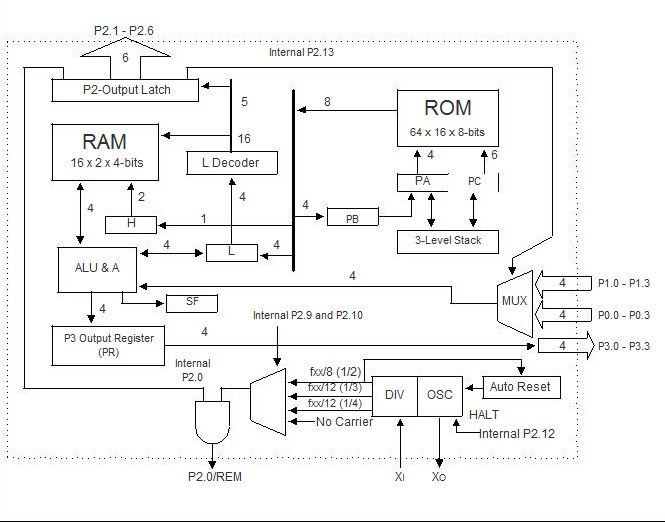
The S3C2410A20-YO80 is a 4-bit single-chip CMOS microcontroller, consists of the reliable SMCS-51 CPU core with on-chip ROM and RAM. Eight input pins and 11 output pins provide the flexibility for various I/O requirements. Auto reset circuit generates reset pulse every certain period, and every halt mode termination time. The S3C2410A20-YO80 microcontroller has been designed for use in small system control applications that require a low-power, cost - sensitive design solution.
Parametrics
S3C2410A20-YO80 absolute maximum ratings: (1)Supply Voltage: – 0.3 to 6 V; (2)Input Voltage: – 0.3to VDD + 0.3V; (3)Output Voltage: – 0.3 to VDD + 0.3V; (4)Storage Temperature: – 55 to 125°C.
Features
S3C2410A20-YO80 features: (1)Two 4-bit ports (24 pins)/one 4-bit port, one 2-bit ports (20 pins); (2)Crystal/ceramic resonator; (3)Built-in Power-on reset and auto reset circuit for generating reset pulse every 131072/fxx (288 ms at fxx = 455 kHz); (4)Instruction Cycle Time.
Diagrams

![]() |
![]() S3C2400 |
![]() Other |
![]() |
![]() Data Sheet |
![]() Negotiable |
|
||||
![]() |
![]() S3C2410A |
![]() Other |
![]() |
![]() Data Sheet |
![]() Negotiable |
|
||||
![]() |
![]() S3C2410X |
![]() Other |
![]() |
![]() Data Sheet |
![]() Negotiable |
|
||||
![]() |
![]() S3C2412XL-26 |
![]() Other |
![]() |
![]() Data Sheet |
![]() Negotiable |
|
||||
![]() |
![]() S3C2440A |
![]() Other |
![]() |
![]() Data Sheet |
![]() Negotiable |
|
||||
![]() |
![]() S3C2440A-40-YQ80 |
![]() Other |
![]() |
![]() Data Sheet |
![]() Negotiable |
|
||||
(China (Mainland))








