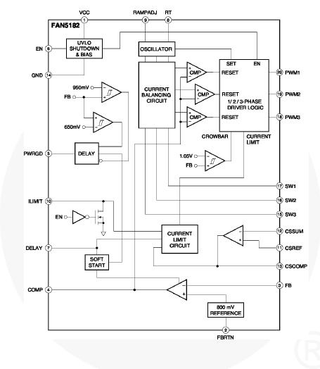
Product Summary
The 5182QSC is a highly efficient, multiphase, synchronous buck switching regulator controller optimized for converting a 12V main supply into a highcurrent, low-voltage supply for use in point-of-load (POL) applications. It uses a multi-loop PWM architecture to drive the logic-level outputs at a programmable switching frequency that can be optimized for regulator size and efficiency. The applications of the 5182QSC include Auxiliary Supplies, DDR Memory Supplies, Point-of-Load Supplies.
Parametrics
5182QSC absolute maximum ratings: (1)VCC: -0.3 to +15 V; (2)FBRTN: -0.3 to +0.3 V; (3)EN, DELAY, ILIMIT, RT, PWM1-PWM3, COMP -0.3 to 5.5 V; SW1-SW3 -5 to +25 V; All Other Inputs and Outputs: -0.3 to VCC +0.3 V; (4)TJ, Operating Junction Temperature 0 to +125℃; (5)TSTG, Storage Temperature -65 to +150℃; (6)TL, Lead Soldering Temperature (10 Seconds): +300℃; (7)TLI, Lead Infrared Temperature (15 Seconds): +260℃; (8)θJC, Thermal Resistance Junction-to-Case: 38℃/W; (9)θJA, Thermal Resistance Junction-to-Ambient: 90℃/W.
Features
5182QSC features: (1)Selectable 1-, 2-, or 3-Phase Operation at up to 1MHz per Phase; (2)Accuracy: 1%; (3)Externally Adjustable 0.8V to 5V Output from a 12V Supply; (4)Logic-Level PWM Outputs for Interface to External High-Power Drivers; (5)Active Current Balancing Between all Phases; (6)Built-in Power-Good / Crowbar Functions; (7)Programmable Over-Current Protection with Adjustable Latch-Off Delay.
Diagrams

(China (Mainland))






