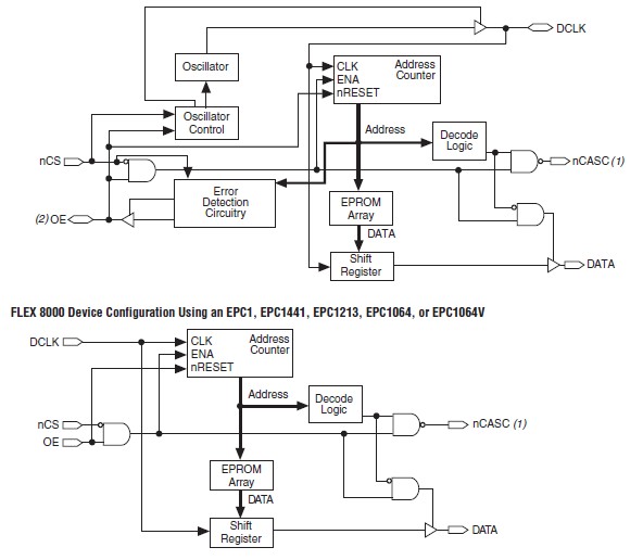
Product Summary
THE EPC2LI20(N) is a configuration device for SRAM-based LUT device , configuration data must be reloaded each time the device powers up, the system initializes, or when new configuration data is needed. Altera configuration device store configuration data for SRAM-based ACEX 1K, APEX 20K, APEX II, Arria GX, Cyclone, Cyclone II, FLEX 10K, FLEX 6000, Mercury, Stratix, Stratix GX, Stratix II, and Stratix II GX device. Table 2 lists the supported configuration device required to configure the ACEX 1K, APEX 20K, APEX 20KC, APEX 20KE, APEX II, Cyclone, Cyclone II, FLEX 10K, FLEX 10KA, FLEX 10KE, FLEX 6000/A, FLEX 8000A, Mercury, Stratix, Stratix GX, or Stratix II device.
Parametrics
EPC2LI20(N) absolute maximum ratings: (1)VCC. Supply voltage With respect to GND: –2.0 to 7.0 V; (2)VI. DC input voltage With respect to GND: –2.0 to 7.0 V; (3)IMAX. DC VCC or GND current: 50 mA; (4)IOUT. DC output current, per pin: –25 to 25 mA; (5)PD. Power dissipation: 250 mW; (6)TSTG. Storage temperature No bias: –65 to 150 ° C; (7)TAMB. Ambient temperature Under bias: –65 to 135 ° C; (8)TJ. Junction temperature Under bias: 135 ° C.
Features
EPC2LI20(N) features: (1)Configures Altera ACEXÒ 1K, APEXÔ 20K (including APEX 20K, APEX 20KC, and APEX 20KE), APEX II, ArriaÒ GX, CycloneÒ, Cyclone II, FLEXÒ 10K (including FLEX 10KE and FLEX 10KA)MercuryÔ, StratixÒ, Stratix GX, Stratix II, and Stratix II GX devices; (2)Easy-to-use four-pin interface; (3)Low current during configuration and near-zero standby mode current; (4)Programming support with the Altera Programming Unit (APU)and programming hardware from Data I/O, BP Microsystems, and other third-party programmers; (5)Available in compact plastic packages: 8-pin plastic dual in-line (PDIP)package; 20-pin plastic J-lead chip carrier (PLCC)package; 32-pin plastic thin quad flat pack (TQFP)package; (6)EPC2 device has reprogrammable flash configuration memory.
Diagrams

(China (Mainland))






