Product Summary
The PM8389-NI is a 4-Channel Multiplexer and Link Extender for SAS, SATA, Ethernet and FC.
Features
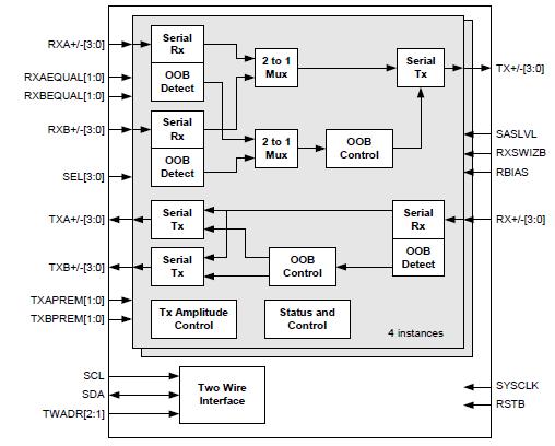
PM8389-NI features: (1)Four bi-directional 2:1 SATA or SAS multiplexer/demultiplexer; (2)Compliant with SAS Internal and External specification; (3)SATA Gen1i, Gen1x, Gen2i, Gen2x compliant; (4)In the downstream direction, the QuadSMX 3G demuxes the initiator-side receive ports to either the A or B device-side transmit ports; (5)In the upstream direction, the QuadSMX 3G selects either the A; (6)or B device-side receive port to output on the initiator-side transmit ports; (7)Passes-thru out-of-band (OOB) signaling; (8)Internal OOB detectors for COMSAS, COMRESET/COMINIT and COMWAKE; (9)Provides port reordering to support standard SATA/SAS 4 channel; (10)connectors and easier PCB routing.
Diagrams

(China (Mainland))






