Product Summary
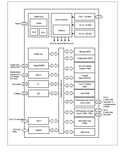
The STM8S105K6T6C is an access line 8-bit MCU offers from 16 to 32 Kbytes Flash program memory, plus integrated true data EEPROM. The STM8S105K6T6C is referred to as medium-density devices in the STM8S microcontroller family reference manual (RM0016).
Parametrics
STM8S105K6T6C absolute maximum ratings: (1)VDDx - VSS, Supply voltage (including VDDA and VDDIO): -0.3 to 6.5 V; (2)VIN, Input voltage on true open drain pins, VSS -0.3 to 6.5V; (3)Input voltage on any other pin: VSS -0.3 to VDD + 0.3; (4)|VDDx-VDD|, Variations between different power pins: 50 mV; (5)|VSSx - VSS|, Variations between all the different ground pins: 50mV.
Features
STM8S105K6T6C features: (1)Core, 16 MHz advanced STM8 core with Harvard architecture and 3-stage pipeline; Extended instruction set; (2)Memories, Medium-density Flash/EEPROM: - Program memory up to 32 Kbytes; data retention 20 years at 55℃ after 10 kcycles - Data memory up to 1 Kbytes true data EEPROM; endurance 300 kcycles; (3)RAM: Up to 2 Kbytes; (4)Clock, reset and supply management; 2.95 V to 5.5 V operating voltage; Flexible clock control, 4 master clock sources: - Low power crystal resonator oscillator; - External clock input; - Internal, user-trimmable 16 MHz RC; - Internal low power 128 kHz RC.
Diagrams

| Image | Part No | Mfg | Description | ![]() |
Pricing (USD) |
Quantity | ||||||||||||
|---|---|---|---|---|---|---|---|---|---|---|---|---|---|---|---|---|---|---|
![]() |
![]() STM8S105K6T6C |
![]() STMicroelectronics |
![]() 8-bit Microcontrollers (MCU) Access Line 16 MHz 8-bit MCU 32 Kbyt |
![]() Data Sheet |
![]()
|
|
||||||||||||
![]() |
![]() STM8S105K6T6CTR |
![]() STMicroelectronics |
![]() 8-bit Microcontrollers (MCU) Access line, 16 MHz STM8S 8-bit 32 Kbyte |
![]() Data Sheet |
![]()
|
|
||||||||||||
(China (Mainland))









