Product Summary
The STM8S207K6T6C is a performance line 8-bit microcontroller offers from 32 to 128 Kbytes Flash program memory. The STM8S207K6T6C is referred to as high-density devices in the STM8S microcontroller family Reference Manual (RM0016).
Parametrics
STM8S207K6T6C absolute maximum ratings: (1)VDDx - VSS, Supply voltage (including VDDA and VDDIO): -0.3 to 6.5V; (2)VIN, Input voltage on true open drain pins (PE1, PE2), VSS: -0.3 to 6.5V; Input voltage on any other pin: VSS -0.3 to VDD + 0.3; (3)|VDDx - VDD|, Variations between different power pins: 50mV; (4)|VSSx - VSS|, Variations between all the different ground pins: 50mV.
Features
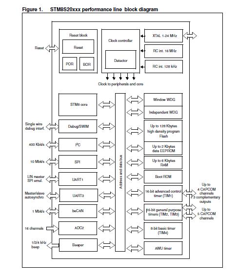
STM8S207K6T6C features: (1)Core, Max fCPU: up to 24 MHz, 0 wait states @ fCPU ≤ 16 MHz; Advanced STM8 core with Harvard architecture and 3-stage pipeline; Extended instruction set; Max 20 MIPS @ 24 MHz; (2)Memories, Program: up to 128 Kbytes Flash; data retention 20 years at 55℃ after 10 kcycles; Data: up to 2 Kbytes true data EEPROM; endurance 300 kcycles; RAM: up to 6 Kbytes; (3)Clock, reset and supply management, 2.95 to 5.5 V operating voltage; Flexible clock control: Low power crystal resonator oscillator; External clock input; Internal, user-trimmable 16 MHz RC; Internal low power 128 kHz RC; Clock security system with clock monitor; Power management: Wait, active-halt, & halt low power modes; Peripheral clocks switched off individually; Permanently active, low consumption power-on and power-down reset.
Diagrams

| Image | Part No | Mfg | Description | ![]() |
Pricing (USD) |
Quantity | ||||||||||||
|---|---|---|---|---|---|---|---|---|---|---|---|---|---|---|---|---|---|---|
![]() |
![]() STM8S207K6T6C |
![]() STMicroelectronics |
![]() 8-bit Microcontrollers (MCU) Performance Line 24M Hz STMS 8-Bit MCU |
![]() Data Sheet |
![]()
|
|
||||||||||||
![]() |
![]() STM8S207K6T6CTR |
![]() STMicroelectronics |
![]() 8-bit Microcontrollers (MCU) Performance LN 8-Bit 24 MHz STM8S MCU |
![]() Data Sheet |
![]()
|
|
||||||||||||
(China (Mainland))









