Product Summary
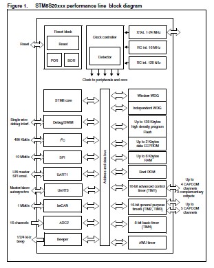
The STM8S2D7C6T6 is a performance line 8-bit microcontroller. It offers from 32 to 128 Kbytes Flash program memory. The STM8S2D7C6T6 is referred to as high-density devices in the STM8S microcontroller family Reference Manual (RM0016).
Parametrics
STM8S2D7C6T6 absolute maximum ratings: (1)VDDx - VSS Supply voltage (including VDDA and VDDIO): -0.3 to 6.5 V; (2)VIN Input voltage on true open drain pins (PE1, PE2): VSS - 0.3 to 6.5 V; Input voltage on any other pin: VSS - 0.3 TO VDD + 0.3 V; (3)|VDDx - VDD| Variations between different power pins: 50 mV; (4)|VSSx - VSS| Variations between all the different ground pins: 50 mV.
Features
STM8S2D7C6T6 features: (1)Max fCPU: up to 24 MHz, 0 wait states @ fCPU ≤ 16 MHz; (2)Advanced STM8 core with Harvard architecture and 3-stage pipeline; (3)Extended instruction set; (4)Max 20 MIPS @ 24 MHz; (5)High speed 1 Mbit/s active beCAN 2.0B; (6)UART with clock output for synchronous operation - LIN master mode; (7)UART with LIN 2.1 compliant, master/slave modes and automatic resynchronization; (8)SPI interface up to 10 Mbit/s; (9)I2C interface up to 400 Kbit/s.
Diagrams

(China (Mainland))






