Product Summary
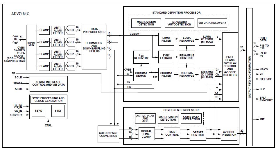
The ADV7186 is a high quality, single-chip, multiformat video decoder and graphics digitizer. This multiformat decoder supports the conversion of PAL, NTSC, and SECAM standards in the form of composite or S-Video into a digital ITU-R BT.656 format. The ADV7186 also supports the decoding of a com-ponent RGB/YPrPb video signal into a digital YCrCb or RGB DDR pixel output stream. The support for component video includes standards such as 525i, 625i, 525p, 625p, 720p, 1080i, and many other HD and SMPTE standards. The applications of the ADV7186 include Automotive entertainment, HDTVs, LCD/DLP projectors, HDTV STBs with PVR, DVD recorders with progressive scan input support, AVR receivers.
Parametrics
ADV7186 absolute maximum ratings: (1)AVDD to AGND: 4 V; (2)DVDD to DGND: 2.2 V; (3)PVDD to AGND: 2.2 V; (4)DVDDIO to DGND: 4 V; (5)DVDDIO to AVDD: -0.3 V to +0.3 V; (6)PVDD to DVDD: -0.3 V to +0.3 V; (7)DVDDIO to PVDD: -0.3 V to +2 V; (8)DVDDIO to DVDD: -0.3 V to +2 V; (9)AVDD to PVDD: -0.3 V to +2 V; (10)AVDD to DVDD: -0.3 V to +2 V; (11)Digital Inputs Voltage to DGND: DGND -0.3 V to DVDDIO + 0.3 V; (12)Digital Outputs Voltage to DGND: DGND -0.3 V to DVDDIO + 0.3 V; (13)Analog Inputs to AGND: AGND -0.3 V to AVDD + 0.3 V; (14)Operating Temperature: -40℃ to +85℃; (15)Maximum Junction Temperature (TJ MAX): 125℃; (16)Storage Temperature Range: -65℃ to +150℃; (17)Infrared Reflow Soldering (20 sec): 260℃.
Features
ADV7186 features: (1)Four 10-bit ADCs sampling up to 110 MHz; (2)6 analog input channels; (3)SCART fast blank support; (4)Internal antialias filters; (5)NTSC, PAL, SECAM color standards support; (6)525p/625p component progressive scan support; (7)720p/1080i component HDTV support; (8)Digitizes RGB graphics up to 1280 × 1024 at 60 Hz (SXGA); (9)3 × 3 color space conversion matrix; (10)Industrial temperature range: -40℃ to +85℃; (11)12-bit 4:4:4 DDR, 8-/10-/16-/20-bit SDR pixel output interface; (12)Programmable interrupt request output pin; (13)Small package; (14)Low pin count; (15)Single front end for video and graphics.
Diagrams

| Image | Part No | Mfg | Description | ![]() |
Pricing (USD) |
Quantity | ||||||
|---|---|---|---|---|---|---|---|---|---|---|---|---|
![]() |
![]() ADV7186BBCZ |
![]() |
![]() IC VIDEO DECODER 196CSPBGA |
![]() Data Sheet |
![]()
|
|
||||||
![]() |
![]() ADV7186BBCZ-T-RL |
![]() |
![]() IC VIDEO DECODER 196CSPBGA |
![]() Data Sheet |
![]()
|
|
||||||
![]() |
![]() ADV7186BBCZ-TL-RL |
![]() |
![]() IC VIDEO DECODER 196CSPBGA |
![]() Data Sheet |
![]()
|
|
||||||
![]() |
![]() ADV7186BBCZ-TL |
![]() |
![]() IC VIDEO DECODER 196CSPBGA |
![]() Data Sheet |
![]()
|
|
||||||
![]() |
![]() ADV7186BBCZ-T |
![]() |
![]() IC VIDEO DECODER 196CSPBGA |
![]() Data Sheet |
![]()
|
|
||||||
![]() |
![]() ADV7186BBCZ-RL |
![]() |
![]() IC VIDEO DECODER 196CSPBGA |
![]() Data Sheet |
![]()
|
|
||||||
(China (Mainland))









