Product Summary
The W25Q32BVSSIG is a flash memory. The W25Q32BVSSIG provides a storage solution for systems with limited space, pins and power. The W25Q32BVSSIG offers flexibility and performance well beyond ordinary Serial Flash devices. The W25Q32BVSSIG is ideal for code shadowing to RAM, executing code directly from Dual/Quad SPI (XIP) and storing voice, text and data. The W25Q32BVSSIG operates on a single 2.7V to 3.6V power supply with current consumption as low as 4mA active and 1μA for power-down.A Hold pin, Write Protect pin and programmable write protection, with top or bottom array control, provide further control flexibility. Additionally, the device supports JEDEC standard manufacturer and device identification with a 64-bit Unique Serial Number.
Parametrics
W25Q32BVSSIG absolute maximum ratings: (1)Supply Voltage VCC: –0.6 to +4.6 V; (2)Voltage Applied to Any Pin VIO Relative to Ground: –0.6 to VCC+0.4 V; (3)Transient Voltage on any Pin VIOT <20nS Transient Relative to Ground: –2.0V to VCC+2.0V; (4)Storage Temperature TSTG: –65 to +150 ℃; (5)Electrostatic Discharge Voltage VESD Human Body Model: –2000 to +2000 V.
Features
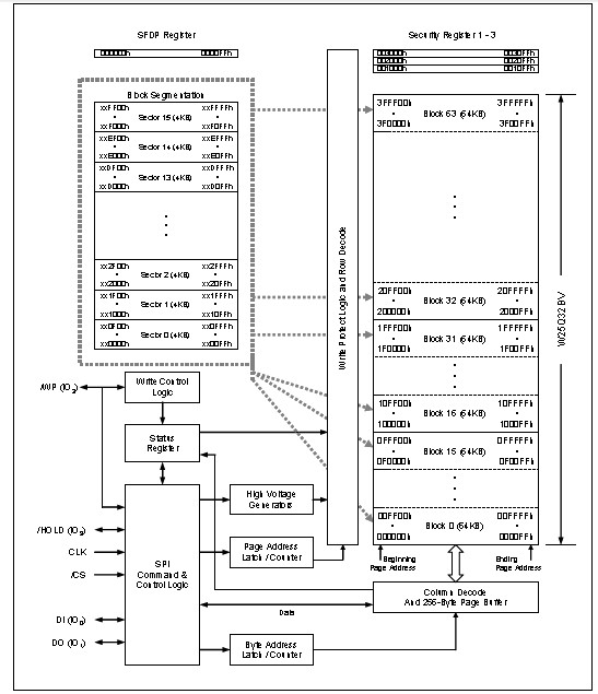
W25Q32BVSSIG features: (1)Highest Performance Serial Flash: 104MHz Dual SPI / 80MHz Quad SPI clocks; 208/320MHz equivalent Dual/Quad SPI; 40MB/S continuous data transfer rate; (2)Efficient Continuous Read Mode: Low Instruction overhead; Continuous Read with 8/16/32/64-Byte Wrap; As few as 8 clocks to address memory; (3)Low Power, Wide Temperature Range: Single 2.7 to 3.6V supply; -40℃ to +85℃ operating range; (4)Flexible Architecture with 4KB sectors: Uniform Sector/Block Erase (4/32/64K-bytes); Program one to 256 bytes; (5)Advanced Security Features: Software and Hardware Write-Protect; Top/Bottom, 4KB complement array protection.
Diagrams

| Image | Part No | Mfg | Description | ![]() |
Pricing (USD) |
Quantity | ||||||||||||||||||||||
|---|---|---|---|---|---|---|---|---|---|---|---|---|---|---|---|---|---|---|---|---|---|---|---|---|---|---|---|---|
![]() |
![]() W25Q32BVSSIG |
![]() |
![]() IC SPI FLASH 32MBIT 8SOIC |
![]() Data Sheet |
![]() Negotiable |
|
||||||||||||||||||||||
| Image | Part No | Mfg | Description | ![]() |
Pricing (USD) |
Quantity | ||||||||||||||||||||||
![]() |
![]() W25Q128BVEIG |
![]() |
![]() IC SPI FLASH 128MBIT 8WSON |
![]() Data Sheet |
![]() Negotiable |
|
||||||||||||||||||||||
![]() |
![]() W25Q128FVEIG |
![]() |
![]() IC FLASH SPI 128MBIT 8WSON |
![]() Data Sheet |
![]()
|
|
||||||||||||||||||||||
![]() |
![]() W25Q128FVFIG |
![]() |
![]() IC FLASH SPI 128MBIT 16SOIC |
![]() Data Sheet |
![]()
|
|
||||||||||||||||||||||
![]() |
![]() W25Q128FVSIG |
![]() |
![]() IC FLASH SPI 128MBIT 8SOIC |
![]() Data Sheet |
![]()
|
|
||||||||||||||||||||||
![]() |
![]() W25Q16BVSFIG |
![]() |
![]() IC SPI FLASH 16MBIT 16SOIC |
![]() Data Sheet |
![]()
|
|
||||||||||||||||||||||
![]() |
![]() W25Q16BVSSIG |
![]() |
![]() IC SPI FLASH 16MBIT 8SOIC |
![]() Data Sheet |
![]()
|
|
||||||||||||||||||||||
(China (Mainland))










