Product Summary
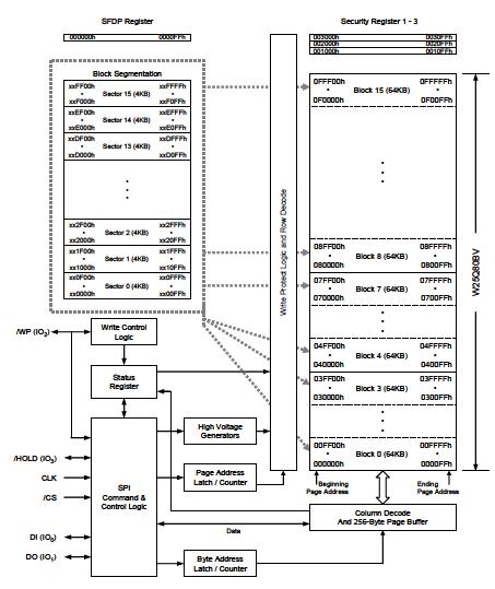
The W25Q80BVSNIG is an 8M-bit Serial Flash memory provides a storage solution for systems with limited space, pins and power. The 25Q series offers flexibility and performance well beyond ordinary Serial Flash devices. The W25Q80BVSNIG is ideal for code shadowing to RAM, executing code directly from Dual/Quad SPI (XIP) and storing voice, text and data. The device operates on a single 2.7V to 3.6V power supply with current consumption as low as 4mA active and 1μA for power-down.
Parametrics
W25Q80BVSNIG absolute maximum ratings: (1)Supply Voltage, VCC: -0.6 to +4.0 V; (2)Voltage Applied to Any Pin VIO Relative to Ground: -0.6 to VCC+0.4 V; (3)Transient Voltage on any Pin VIOT <20nS Transient Relative to Ground: -2.0V to VCC+2.0V V; (4)Storage Temperature, TSTG: -65 to +150℃; (5)Lead Temperature TLEAD: See Note (2)℃; (6)Electrostatic Discharge Voltage VESD Human Body Model: -2000 to +2000 V.
Features
W25Q80BVSNIG features: (1)Family of SpiFlash Memories, W25Q80BV: 8M-bit/1M-byte (1,048,576); 256-byte per programmable page; Standard SPI: CLK, /CS, DI, DO, /WP, /Hold; Dual SPI: CLK, /CS, IO0, IO1, /WP, /Hold; Quad SPI: CLK, /CS, IO0, IO1, IO2, IO3; (2)Highest Performance Serial Flash, 104MHz Dual/Quad SPI clocks’; 208/416MHz equivalent Dual/Quad SPI; 50MB/S continuous data transfer rate; Up to 8X that of ordinary Serial Flash; More than 100,000 erase/program cycles; More than 20-year data retention; (3)Efficient "Continuous Read Mode", Low Instruction overhead; Continuous Read with 8/16/32/64-Byte Wrap; As few as 8 clocks to address memory; Allows true XIP (execute in place) operation; Outperforms X16 Parallel Flash.
Diagrams

| Image | Part No | Mfg | Description | ![]() |
Pricing (USD) |
Quantity | ||||||||||||||||||||||
|---|---|---|---|---|---|---|---|---|---|---|---|---|---|---|---|---|---|---|---|---|---|---|---|---|---|---|---|---|
![]() |
![]() W25Q80BVSNIG |
![]() |
![]() IC SPI FLASH 8MBIT 8SOIC |
![]() Data Sheet |
![]()
|
|
||||||||||||||||||||||
| Image | Part No | Mfg | Description | ![]() |
Pricing (USD) |
Quantity | ||||||||||||||||||||||
![]() |
![]() W25Q128BVEIG |
![]() |
![]() IC SPI FLASH 128MBIT 8WSON |
![]() Data Sheet |
![]() Negotiable |
|
||||||||||||||||||||||
![]() |
![]() W25Q128FVEIG |
![]() |
![]() IC FLASH SPI 128MBIT 8WSON |
![]() Data Sheet |
![]()
|
|
||||||||||||||||||||||
![]() |
![]() W25Q128FVFIG |
![]() |
![]() IC FLASH SPI 128MBIT 16SOIC |
![]() Data Sheet |
![]()
|
|
||||||||||||||||||||||
![]() |
![]() W25Q128FVSIG |
![]() |
![]() IC FLASH SPI 128MBIT 8SOIC |
![]() Data Sheet |
![]()
|
|
||||||||||||||||||||||
![]() |
![]() W25Q16BVSFIG |
![]() |
![]() IC SPI FLASH 16MBIT 16SOIC |
![]() Data Sheet |
![]()
|
|
||||||||||||||||||||||
![]() |
![]() W25Q16BVSSIG |
![]() |
![]() IC SPI FLASH 16MBIT 8SOIC |
![]() Data Sheet |
![]()
|
|
||||||||||||||||||||||
(China (Mainland))










