Product Summary
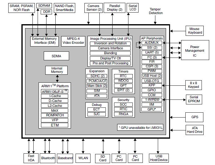
The MCIMX31LDVKN5D is a multimedia applications processor. It represent the next step in low-power, high-performance application processors. The MCIMX31LDVKN5D does not include a graphics processing unit (GPU). Based on an ARM11 microprocessor core, the MCIMX31LDVKN5D provides the performance with low power consumption required by modern digital devices. The MCIMX31LDVKN5D takes advantage of the ARM1136JF-S core running at up to 532 MHz, and is optimized for minimal power consumption using the most advanced techniques for power saving (DPTC, DVFS, power gating, clock gating). With 90 nm technology and dual-Vt transistors (two threshold voltages), the MCIMX31LDVKN5D provides the optimal performance versus leakage current balance.
Parametrics
MCIMX31LDVKN5D absolute maximum ratings: (1)Supply voltage (core), QVCCmax: –0.5 to 1.65 V; (2)Supply voltage (I/O), NVCCmax: –0.5 to 3.3 V; (3)Input voltage range, VImax: –0.5 to NVCC +0.3 V; (4)Storage temperature, Tstorage: –40 to 125 oC; (5)ESD damage immunity: Human body model (HBM): 1500 V; Machine model (MM): 200 V; Charge device model (CDM): 500 V; (6)Offset voltage allowed in run mode between core supplies: 15 mV.
Features
MCIMX31LDVKN5D features: (1)Multimedia and floating-point hardware acceleration supporting: MPEG-4 real-time encode of up to VGA at 30 fps; MPEG-4 real-time video post-processing of up to VGA at 30 fps; Video conference call of up to QCIF-30 fps (decoder in software), 128 kbps; Video streaming (playback)of up to VGA-30 fps, 384 kbps; 3D graphics and other applications acceleration with the ARM® tightly-coupled Vector Floating Point co-processor; On-the-fly video processing that reduces system memory load (for example, the power-efficient viewfinder application with no involvement of either the memory system or the ARM CPU); (2)Advanced power management: Dynamic voltage and frequency scaling; Multiple clock and power domains; Independent gating of power domains; (3)Multiple communication and expansion ports including a fast parallel interface to an external graphic accelerator (supporting major graphic accelerator vendors); (4)Security.
Diagrams

| Image | Part No | Mfg | Description | ![]() |
Pricing (USD) |
Quantity | ||||||||||
|---|---|---|---|---|---|---|---|---|---|---|---|---|---|---|---|---|
![]() |
![]() MCIMX31LDVKN5D |
![]() Freescale Semiconductor |
![]() Processors - Application Specialized 2.0.1 CONSUMER LITE |
![]() Data Sheet |
![]()
|
|
||||||||||
![]() |
![]() MCIMX31LDVKN5DR2 |
![]() Freescale Semiconductor |
![]() Processors - Application Specialized 2.0.1 CONSUMER LITE |
![]() Data Sheet |
![]()
|
|
||||||||||
(China (Mainland))










